
全國服務熱線 語言選擇 :EN

武大巨成結構股份有限公司
WUDAJUCHENG STRUCTURE CO.,LTD
1 技術介紹
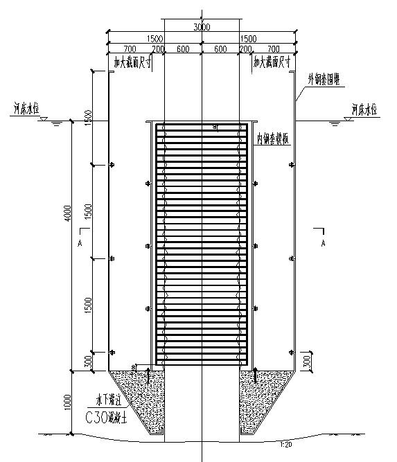
巨成結構研究開發了一套水下鋼圍堰技術,應用于水下結構修復。針對橋梁橋墩水下施工,提出了將鋼套箱套入被水淹沒后的橋墩,并利用懸掛橫梁將其定位懸掛于水下橋墩上,形成一個密閉的無水空間的技術方案。
針對橋梁樁柱水下維修的施工圍堰,屬于建筑施工構件。筒體的周邊和底面由兩片或兩片以上的筒壁板經連接件密封連接而成,筒壁板的底部與橋梁樁柱的外表面相貼合,各筒壁板的底部相互拼接成與橋梁樁柱截面形狀相對應的通孔形狀,由此形成圍堰,將圍堰內水排干后形成干地作業環境,由此可對橋梁樁柱進行維修和施工。
該技術裝置和方法可對水下的橋墩進行施工作業,圍堰薄,圍水面積小,易于拼裝和拆除,減少了施工量,成本較低,施工量小,使用安全可靠。已在福建寧德八座跨海大橋水下柱修復工程中成功應用。
2 工程應用
2.1 福寧高速公路跨海橋梁下部構造維修處治工程
本工程于2007年施工。主要施工內容包括:田螺特大橋、云淡1號橋、下白石特大橋、鹽田大橋、楊家溪1號橋、楊家溪2號橋、八尺門特大橋、流美特大橋等八座跨海大橋的下部構造維修處治,采用水下濕固性環氧混凝土和水下外包高性能混凝土加固樁基。通過安裝水下鋼圍堰提供施工作業面。該工程水流速5m/m,施工區域海水深27m,在水下9m以上設置鋼圍堰進行施工。
(a) 福建寧德八座跨海大橋水下樁基修復
(b) 水下鋼圍堰結構設計圖及樁基修復設計圖
圖 福寧高速公路跨海橋梁下部構造維修處治工程